Suspended Remnants

A collaboration between two university architecture and engineering departments exemplifies a potential use for short structural timber lengths, deemed unusable for typical construction.
Project Name
Suspended Remnants - University of Queensland and Swinburne University of Technology
Case Study Type
Location

John Street
Hawthorn VIC 3122
Australia

Photographer Details
University of Melbourne

Overview

The timber used for the sculptural installation is utility grade, with too many structural defects such as knots, checks, and splits to be used for structural application. 

The university led team proposed an exemplary response to problems faced by the timber industry, where rejected members are either burned as fuel or utilised in lower grade applications like chipboard. 

Common Queensland plantation species Pinus caribaea, or ‘Caribbean pine’ was utilised for the project, which is a softwood with good termite resistance, but low durability if exposed. Pinus elliottii, commonly known as ‘slash pine’, was also used, and holds similar characteristics.

 

-37.8216292, 145.0390703

Structure

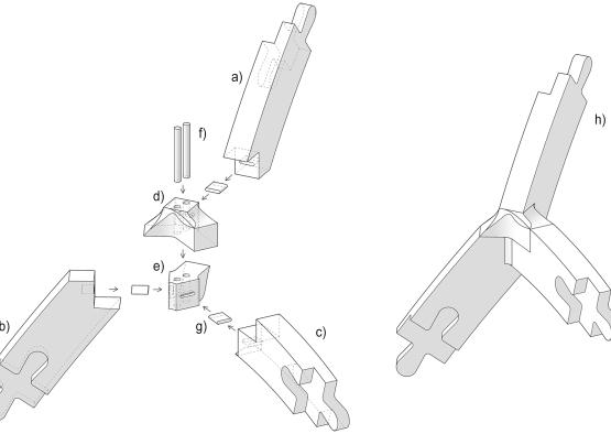
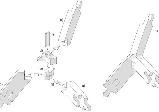
The experimental timber structure investigates a form finding process through funicular geometry. The team set about removing the defects that deemed the timber lower grade, producing a range of high quality, but small length timber. The designers note that structurally rejected timber can represent up to 50% of otherwise structural timber products. Given the extreme demand already placed on timber plantations, strategies for using these smaller members is an important study.

The end result was short members that are well suited to articulated or curvilinear arched structures. The team then strategised to use an inverted funicular geometry, which would only incur axial stresses, and can employ simple timber connections. Funicular geometries generally refer to cable structures. The load placed on a hanging cable informs its funicular form, which will always be in tension. ‘Suspended Remnants’ flips this idea upside down, putting all the small members into compression. Much like an archway made from bricks, simple connections can be used to hold the form together. 

The pavilion is a demonstration of an innovative form finding tool and a proof of concept for viable structural application of what is otherwise a significant source of waste in the timber industry.

 

Related case studies

Are you looking for a supplier?

Start Your Search

Social Media Feeds